 |
Matronics Email Lists Web Forum Interface to the Matronics Email Lists
|
| View previous topic :: View next topic |
| Author |
Message |
docyukon(at)ptcnet.net Guest
|
Posted: Tue Aug 27, 2013 8:12 am Post subject: RAC dual rp3 led indicator ckt. |
|
|
Bob a while back you drew up a ckt to drive two RAC RP3 indicaters from one
servo output. Cant find it. And could you add the component values to the
ckt drawing. Thanks Bill S.
| | - The Matronics AeroElectric-List Email Forum - | | | Use the List Feature Navigator to browse the many List utilities available such as the Email Subscriptions page, Archive Search & Download, 7-Day Browse, Chat, FAQ, Photoshare, and much more:
http://www.matronics.com/Navigator?AeroElectric-List |
|
|
|
| Back to top |
|
 |
nuckolls.bob(at)aeroelect Guest
|
Posted: Tue Aug 27, 2013 11:09 am Post subject: RAC dual rp3 led indicator ckt. |
|
|
At 11:04 AM 8/27/2013, you wrote:
| Quote: | Bob a while back you drew up a ckt to drive two RAC RP3 indicaters
from one servo output. Cant find it. And could you add the
component values to the ckt drawing. Thanks Bill S.
|
I don't recall the specific posting but the
solutions are simple. During discussions
about the RayAllen products on the List,
the operating voltage the position reporting
potentiometer in the actuator was reported . . .
I don't recall if it was 5 or 12v.
Can someone on the List cite the actual value?
Also, I'm guessing that the ORN wire out of
the indicator is the excitation voltage for
the pot, the GRN wire is the pot wiper and
the BLU wire is ground . . . yes?
Bob . . .
| | - The Matronics AeroElectric-List Email Forum - | | | Use the List Feature Navigator to browse the many List utilities available such as the Email Subscriptions page, Archive Search & Download, 7-Day Browse, Chat, FAQ, Photoshare, and much more:
http://www.matronics.com/Navigator?AeroElectric-List |
|
|
|
| Back to top |
|
 |
Mark(at)wessonair.com Guest
|
Posted: Tue Aug 27, 2013 12:04 pm Post subject: RAC dual rp3 led indicator ckt. |
|
|
The operating voltage of the indicator is 5v and the wiring colors you state
are correct.
Mark Wesson
--
| | - The Matronics AeroElectric-List Email Forum - | | | Use the List Feature Navigator to browse the many List utilities available such as the Email Subscriptions page, Archive Search & Download, 7-Day Browse, Chat, FAQ, Photoshare, and much more:
http://www.matronics.com/Navigator?AeroElectric-List |
|
|
|
| Back to top |
|
 |
retasker(at)optonline.net Guest
|
Posted: Tue Aug 27, 2013 12:31 pm Post subject: RAC dual rp3 led indicator ckt. |
|
|
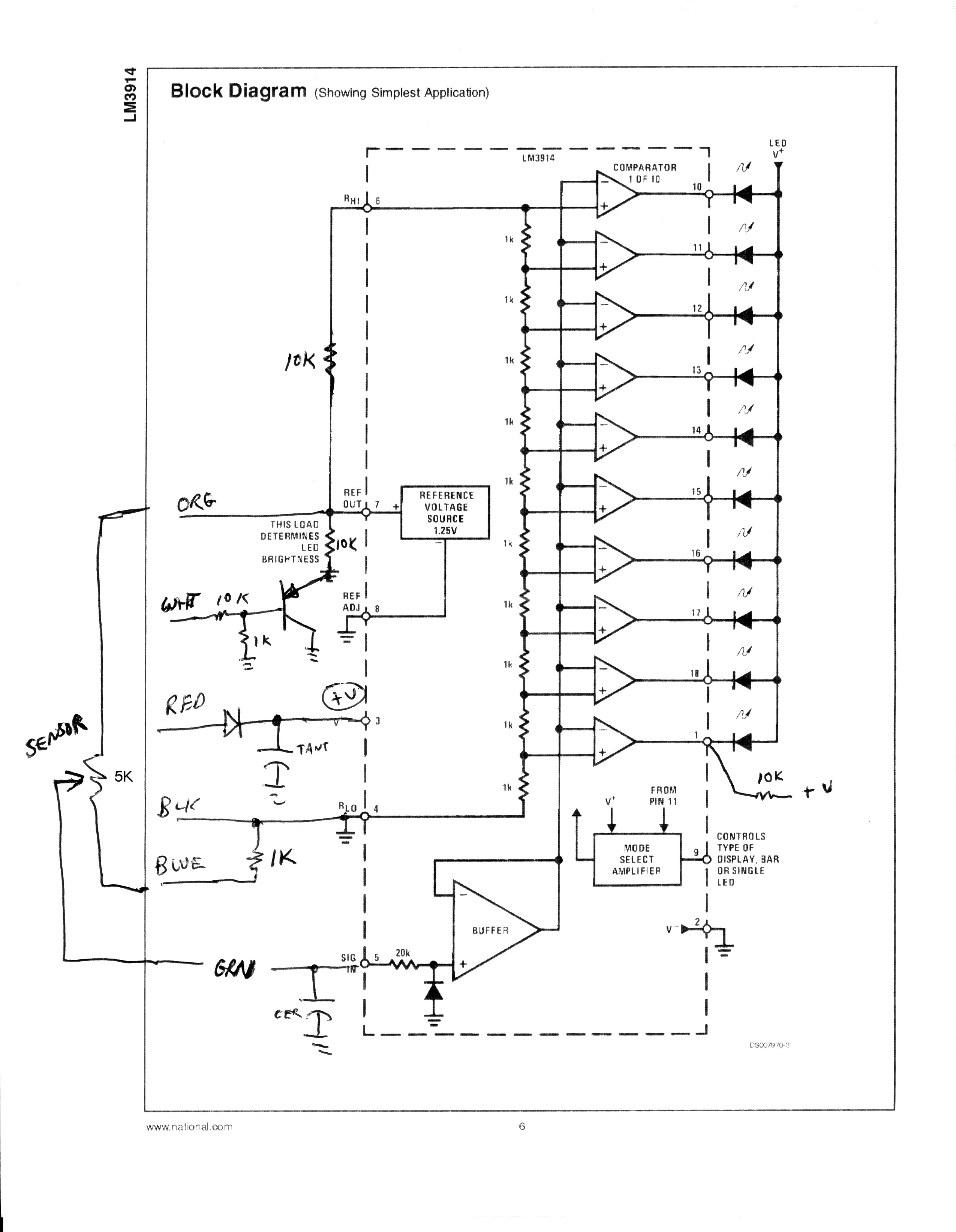
Attached is a crude schematic of the Ray Allen indicator.
As you can see your colors listed are correct.
Dick Tasker
Robert L. Nuckolls, III wrote:
| Quote: |
At 11:04 AM 8/27/2013, you wrote:
> Bob a while back you drew up a ckt to drive two RAC RP3 indicaters from one servo output. Cant find it. And could
> you add the component values to the ckt drawing. Thanks Bill S.
I don't recall the specific posting but the
solutions are simple. During discussions
about the RayAllen products on the List,
the operating voltage the position reporting
potentiometer in the actuator was reported . . .
I don't recall if it was 5 or 12v.
Can someone on the List cite the actual value?
Also, I'm guessing that the ORN wire out of
the indicator is the excitation voltage for
the pot, the GRN wire is the pot wiper and
the BLU wire is ground . . . yes?
Bob . . .
|
| | - The Matronics AeroElectric-List Email Forum - | | | Use the List Feature Navigator to browse the many List utilities available such as the Email Subscriptions page, Archive Search & Download, 7-Day Browse, Chat, FAQ, Photoshare, and much more:
http://www.matronics.com/Navigator?AeroElectric-List |
|
| Description: |
|
| Filesize: |
592.19 KB |
| Viewed: |
2260 Time(s) |

|
|
|
| Back to top |
|
 |
|
|
You cannot post new topics in this forum You cannot reply to topics in this forum You cannot edit your posts in this forum You cannot delete your posts in this forum You cannot vote in polls in this forum You cannot attach files in this forum You can download files in this forum
|
Powered by phpBB © 2001, 2005 phpBB Group
|