 |
Matronics Email Lists Web Forum Interface to the Matronics Email Lists
|
| View previous topic :: View next topic |
| Author |
Message |
billhuntersemail(at)gmail Guest
|
Posted: Sat Feb 04, 2017 11:36 am Post subject: RockRack Switches |
|
|
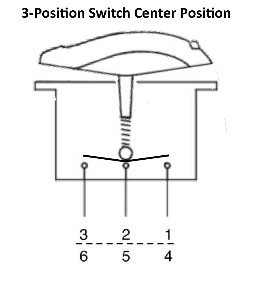
Does anyone by chance have a schematic for the ON-OFF-ON Rockrack switches?Â
Bill Hunter
| | - The Matronics AeroElectric-List Email Forum - | | | Use the List Feature Navigator to browse the many List utilities available such as the Email Subscriptions page, Archive Search & Download, 7-Day Browse, Chat, FAQ, Photoshare, and much more:
http://www.matronics.com/Navigator?AeroElectric-List |
|
|
|
| Back to top |
|
 |
nuckolls.bob(at)aeroelect Guest
|
Posted: Sun Feb 05, 2017 7:29 am Post subject: RockRack Switches |
|
|
At 01:33 PM 2/4/2017, you wrote:
| Quote: | | Does anyone by chance have a schematic for the ON-OFF-ON Rockrack switches? |
Do you have one of these switches in hand?
Bob . . .
| | - The Matronics AeroElectric-List Email Forum - | | | Use the List Feature Navigator to browse the many List utilities available such as the Email Subscriptions page, Archive Search & Download, 7-Day Browse, Chat, FAQ, Photoshare, and much more:
http://www.matronics.com/Navigator?AeroElectric-List |
|
|
|
| Back to top |
|
 |
donjohnston
Joined: 13 Dec 2009 Posts: 232
|
|
| Back to top |
|
 |
billhuntersemail(at)gmail Guest
|
Posted: Mon Feb 06, 2017 11:56 am Post subject: RockRack Switches |
|
|
Don,
THANKS for the link however sadly that schematic is for the OFF-ON switch.
Bob says> Do you have one of these switches in hand?
I do not have the switches in hand however this is what the vendor has provided thus far (he is expanding his offerings of switches and he is working on getting me a schematic of what terminal spades are electrically connected when the switch is in each position.
..
Cheers!!!
Bill Hunter
From: owner-aeroelectric-list-server(at)matronics.com [mailto:owner-aeroelectric-list-server(at)matronics.com] On Behalf Of Robert L. Nuckolls, III
Sent: Sunday, February 5, 2017 7:23 AM
To: aeroelectric-list(at)matronics.com
Subject: Re: RockRack Switches
At 01:33 PM 2/4/2017, you wrote:
| Quote: |
Does anyone by chance have a schematic for the ON-OFF-ON Rockrack switches? |
Do you have one of these switches in hand?
Bob . . .
| | - The Matronics AeroElectric-List Email Forum - | | | Use the List Feature Navigator to browse the many List utilities available such as the Email Subscriptions page, Archive Search & Download, 7-Day Browse, Chat, FAQ, Photoshare, and much more:
http://www.matronics.com/Navigator?AeroElectric-List |
|
| Description: |
|
| Filesize: |
163.13 KB |
| Viewed: |
5665 Time(s) |

|
| Description: |
|
| Filesize: |
127.35 KB |
| Viewed: |
5665 Time(s) |

|
|
|
| Back to top |
|
 |
ribrdb(at)gmail.com Guest
|
Posted: Tue Feb 07, 2017 2:24 pm Post subject: RockRack Switches |
|
|
Aren't these just carling contura switches with fancy labels?http://www.carlingtech.com/sites/default/files/documents/V-Series-IV-V-VII_datasheet.pdf
On Sun, Feb 5, 2017 at 4:48 PM donjohnston <don(at)velocity-xl.com (don(at)velocity-xl.com)> wrote:
| Quote: | | --> AeroElectric-List message posted by: "donjohnston" <don(at)velocity-xl.com (don(at)velocity-xl.com)> Is this what you're looking for? http://www.aircraftspruce.com/catalog/pdf/RockRack-connections.pdf Read this topic online here: http://forums.matronics.com/viewtopic.php?p=465813#465813 =========== - _msg"> il_msg"> mail_msg"> Electric-List" rel="noreferrer" class="gmail_msg" target="_blank">http://www.matronics.com/Navigator?AeroElectric-List =========== FORUMS - il_msg"> eferrer" class="gmail_msg" target="_blank">http://forums.matronics.com =========== WIKI - "> errer" class="gmail_msg" target="_blank">http://wiki.matronics.com =========== b Site - Â Â Â Â Â -Matt Dralle, List Admin. rel="noreferrer" class="gmail_msg" target="_blank">http://www.matronics.com/contribution =========== |
| | - The Matronics AeroElectric-List Email Forum - | | | Use the List Feature Navigator to browse the many List utilities available such as the Email Subscriptions page, Archive Search & Download, 7-Day Browse, Chat, FAQ, Photoshare, and much more:
http://www.matronics.com/Navigator?AeroElectric-List |
|
|
|
| Back to top |
|
 |
|
|
You cannot post new topics in this forum You cannot reply to topics in this forum You cannot edit your posts in this forum You cannot delete your posts in this forum You cannot vote in polls in this forum You cannot attach files in this forum You can download files in this forum
|
Powered by phpBB © 2001, 2005 phpBB Group
|